当前位置:首页 > 科技  > 资讯

苹果新 iPhone 专利获批:检测屏幕是否贴膜,动态改善显示输出

来源: 责编: 时间:2023-09-11 22:31:10 476观看
导读来源:IT之家 根据美国商标和专利局(USPTO)公示的清单,苹果公司今天获得了一项技术专利,名称为《触摸输入设备的覆盖层检测》,其简单来说就是检测 iPhone 或者 iPad 是否有贴膜,然后通过动作补偿改善交互。苹果在专利中完整概

来源:IT之家 zbT28资讯网——每日最新资讯28at.com

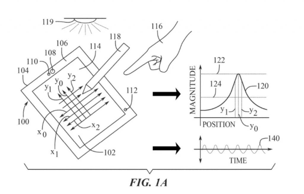
根据美国商标和专利局(USPTO)公示的清单,苹果公司今天获得了一项技术专利,名称为《触摸输入设备的覆盖层检测》,其简单来说就是检测 iPhone 或者 iPad 是否有贴膜,然后通过动作补偿改善交互。zbT28资讯网——每日最新资讯28at.com

zbT28资讯网——每日最新资讯28at.com

苹果在专利中完整概述了检测设备是否贴膜的方法和系统,并能够在 iPhone、iPad 等数码设备上,根据是否有贴膜进行动态调整。zbT28资讯网——每日最新资讯28at.com

IT 之家注:不少消费者出于保护等因素,会选择给 iPhone、iPad 设备贴膜,这会导致屏幕产生的图像出现细微的失真,能以微小但可感知的方式改变显示屏的光线。zbT28资讯网——每日最新资讯28at.com

苹果在专利中概述了检测屏幕是否贴膜的整套光学系统,并包含了一套处理单元、连接器、传感器在内的系统,并可以和屏幕通信,调整屏幕显示效果。zbT28资讯网——每日最新资讯28at.com

本文链接:http://www.28at.com/showinfo-16-9818-0.html苹果新 iPhone 专利获批:检测屏幕是否贴膜,动态改善显示输出

声明:本网页内容旨在传播知识,若有侵权等问题请及时与本网联系,我们将在第一时间删除处理。邮件:2376512515@qq.com

上一篇: 曝iPhone 15 Pro依然128GB起步 但是不涨价

下一篇: 苹果向用户推送 iOS 16.6.1 新系统 修补了一个安全漏洞

标签:
  • 热门焦点
  • 7月安卓手机性能榜:红魔8S Pro再夺榜首

    7月份的手机市场风平浪静,除了红魔和努比亚带来了两款搭载骁龙8Gen2领先版处理器的新机之外,别的也想不到有什么新品了,这也正常,通常6月7月都是手机厂商修整的时间,进入8月份之
  • 6月安卓手机性价比榜:Note 12 Turbo断层式碾压

    6月份有一个618,虽然这是京东周年庆的日子,但别的电商也都不约而同的跟进了,反正促销没坏处,厂商和用户都能满意。618期间一些产品也出现了历史低价,那么各个价位段的产品性价比
  • 0糖0卡0脂 旭日森林仙草乌龙茶优惠:15瓶到手29元

    旭日森林无糖仙草乌龙茶510ml*15瓶平时要卖为79.9元,今日下单领取50元优惠券,到手价为29.9元。产品规格:0糖0卡0脂,添加草本仙草汁,清凉爽口,富含茶多酚,保留
  • 从 Pulsar Client 的原理到它的监控面板

    背景前段时间业务团队偶尔会碰到一些 Pulsar 使用的问题,比如消息阻塞不消费了、生产者消息发送缓慢等各种问题。虽然我们有个监控页面可以根据 topic 维度查看他的发送状态,
  • 阿里大调整

    来源:产品刘有媒体报道称,近期淘宝天猫集团启动了近年来最大的人力制度改革,涉及员工绩效、层级体系等多个核心事项,目前已形成一个初步的“征求意见版”:1、取消P序列
  • 年轻人的“职场羞耻感”,无处不在

    作者:冯晓亭 陶 淘 李 欣 张 琳 马舒叶来源:燃次元“人在职场,应该选择什么样的着装?”近日,在网络上,一个与着装相关的帖子引发关注,在该帖子里,一位在高级写字楼亚洲金
  • 苹果、三星、惠普等暂停向印度出口笔记本和平板电脑

    集微网消息,据彭博社报道,在8月3日印度突然禁止在没有许可证的情况下向印度进口电脑/平板及显示器等产品后,苹果、三星电子和惠普等大公司暂停向印度
  • 三星电子Q2营收60万亿韩元 存储业务营收同比仍下滑超过50%

    7月27日消息,据外媒报道,从三星电子所发布的财报来看,他们主要利润来源的存储芯片业务在今年二季度仍不乐观,营收同比仍在大幅下滑,所在的设备解决方案
  • iQOO 11S或7月上市:搭载“鸡血版”骁龙8Gen2 史上最强5G Soc

    去年底,iQOO推出了“电竞旗舰”iQOO 11系列,作为一款性能强机,iQOO 11不仅全球首发2K 144Hz E6全感屏,搭载了第二代骁龙8平台及144Hz电竞屏,同时在快充
Top